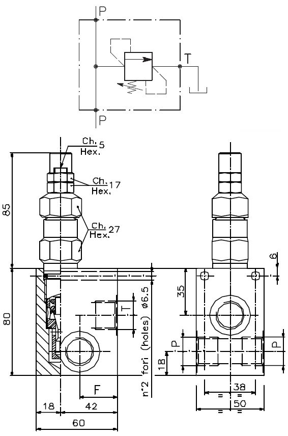
Druckbegrenzungsventil
Artikel-Nr Rau Serta : LP080A
Technische Informationen
Druckbegrenzungsventil 5 - 50 bar / Durchfluß: 80 l max. Druck: 350 bar

technische Daten
| Anschluss | G3/4 | ||
| maximales Fördervolumen | 80 | l/min | |
| Matière | Aluminium | ||
| Max. Betriebsdruck | 50 | bar | |
| Pression mini d'utilisation | 5 | bar |