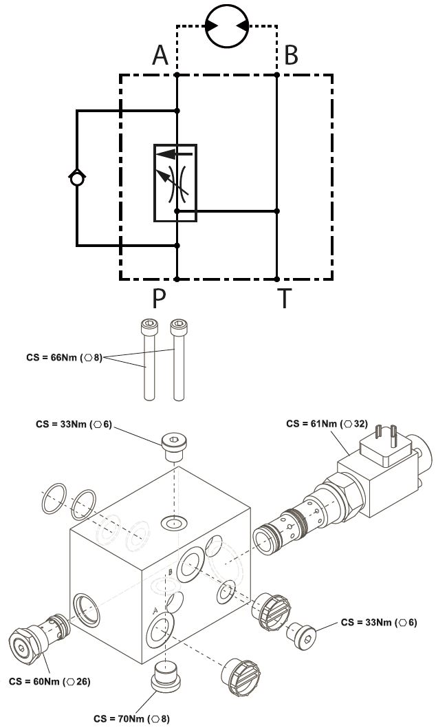
Informations techniques
Flasquable sur moteur OMS.
Caractéristiques :
- Pression maximum : 210 bar.
- Débit d'entrée : 70 litres/minute.
- Débit régulé : 0 à 50 litres/minute.
- Électrique 24 volts.
