Chape diamètre 35.2x50 mm - Entraxe 67 mm Walterscheid
Référence Hydrokit : CAT355090V2
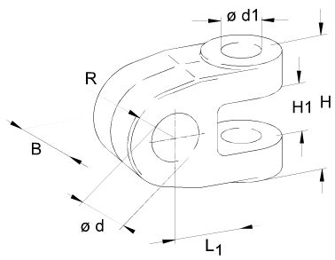
Informations techniques
Pour axe de vérin diamètre 28x55 mm.
Catégorie 3
Ø d : 35,2 mm
B : 50 mm
R : 35 mm
L : 67 mm
H : 114 mm
H1 : 55,6 mm
Ø d1 : 28,2 mm

Caractéristiques techniques
| Catégorie | 3 | ||
| Fixation côté tracteur | Chape Ø35.2mm | ||
| Longueur mini | 67 | ||
| Longueur maxi | 67 | ||
| Marque | Walterscheid |