Tête de commande - 2 trous 43mm - DM041 DM051 DM081 DM082 + levier M10
Référence Hydrokit : LHV041
Informations techniques
Tête de commande gamme DM041 DM051 DM081 et DM082
2 trous 43 mm - levier M10
2 trous 43 mm - levier M10


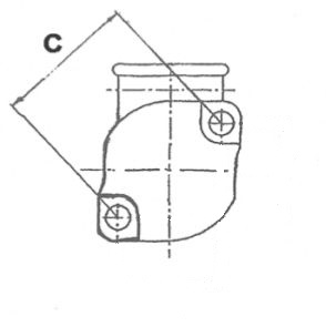
|
|
C |
D |
E |
F |
Levier | |
|
|
43 |
52 |
43 |
28 |
Fourni |
Caractéristiques techniques
| Type de fixation | 2 trous - diagonale à droite | ||
| Entre-axe | 43mm |