Pédibulateur hydraulique à bascule 0-69bar régulation 5-19bar
Référence Hydrokit : PHB010519A
Informations techniques
sans index
plage de pression en sortie 5 à 19 bar
Pression max en entrée : 50 bar
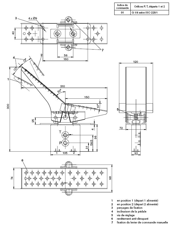
Implantation P, T, 1 et 2 : G1/4
Ref Rexroth R907228886 2TH6RC06-10/M01 2TH6R06-10/M01
plage de pression en sortie 5 à 19 bar
Pression max en entrée : 50 bar
Implantation P, T, 1 et 2 : G1/4
Ref Rexroth R907228886 2TH6RC06-10/M01 2TH6R06-10/M01
Pédibulateur à commande hydraulique pour mini pelle, pelle etc

|
Pression maxi ( bar ) |
pression maxi sur retour ( bar) |
Pression de pilotage ( bar ) |
Débit maxi ( l/mn ) |
Implantation |
|
P |
T |
1, 2 |
P |
1, 2, P, T |
|
50 |
3 |
5 à 19 |
16 |
1/4' G |